Il s'agit d'un appareil ménager qui hache la viande en la passant à travers un tamis et en la coupant avec des couteaux à vis spéciaux. Il a été inventé au 19ème siècle, mais les hachoirs à viande électriques ne sont devenus populaires en Russie qu'au 21ème siècle. Les principes de l'appareil, le fonctionnement et les règles de fonctionnement n'ont pas changé, mais maintenant les éléments bougent en raison du fonctionnement du moteur électrique. Les principaux critères de sélection sont la puissance et les performances.
Les avantages d'un hachoir à viande électrique
Cet appareil n'a pas d'alternative, les principaux avantages doivent donc être démontés par rapport à son ancêtre mécanique:
- un hachoir à viande électrique fonctionne plus rapidement;
- sauve la force humaine;
- il n'est pas nécessaire de nettoyer l'appareil pendant son fonctionnement;
- généralement, les appareils sont assez puissants, ils peuvent traiter les tendons, le cartilage, qui échappe souvent au contrôle humain;
- il n'est pas nécessaire de fixer l'appareil à la table avec une pince.
Dans le même temps, le système des hachoirs à viande modernes est assez sûr, car l'appareil a un cou étroit et long, dans lequel vous ne pouvez tout simplement pas coller vos doigts. La viande est acheminée vers les vis sans fin à l'aide d'un poussoir.
L'appareil du hachoir à viande
Tout d'abord, il vaut la peine de comprendre le principe général de la conception et du fonctionnement du hachoir à viande, puis de prêter attention à sa partie de travail, où la viande est hachée.
Dispositif général
Le hachoir à viande se compose de plusieurs éléments:
- unité de commande, où se trouvent les boutons et les indicateurs;
- un moteur électrique qui convertit l'énergie électrique en mécanique
- la partie de travail où le broyage de la viande a lieu.

L'appareil du hachoir à viande
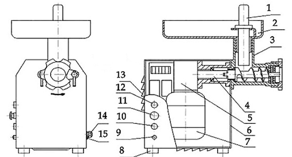
Dispositif hachoir à viande: le boîtier se compose d'une partie métallique (3) où se trouve la partie de travail et d'une partie en plastique (6) où se trouve le moteur du hachoir à viande. Derrière le moteur électrique, il y a des grilles (13) à travers lesquelles l'air chauffé s'écoule. En bas, il y a souvent des pieds en caoutchouc (8) qui ne permettent pas à l'appareil de glisser sur la table.
Sur l'unité de commande se trouve un bouton pour démarrer le travail (12) et l'arrêter (11). La plupart des modèles ont une touche de défilement de la vis (10) qui doit être enfoncée lorsque l'arbre est obstrué par quelque chose et doit être nettoyé. De plus, il y a souvent un indicateur de fonctionnement (9) qui s'allume lorsque l'appareil fonctionne.
Le moteur a une entrée pour un câble électrique (14), généralement il y a une pince de terre (15) à proximité. Le moteur lui-même (7) convertit l'énergie électrique en énergie mécanique. La boîte de vitesses (5) transfère le mouvement de rotation du moteur électrique à l'arbre (4), qui est directement connecté à la vis.
Partie de travail
La partie de travail comprend un hachoir à viande et un dispositif de réception de viande. Le récepteur de viande se compose d'un plateau ou d'une tasse et d'un poussoir - un long tube en plastique et étroit qui doit être poussé dans les vis sans fin. Les éléments clés sont les mêmes pour tous les modèles.

Le système de hachoir à viande le plus simple
L'ensemble de la structure est dans un boîtier métallique, ce qui ne permet pas au produit de se séparer en raison de la pression à l'intérieur de la chambre de travail. Au-dessus se trouve un plateau oblong ou rond, dans lequel se trouve un trou étroit. Un poussoir en plastique y est inséré, où il est nécessaire de presser la viande sur les vis. Les produits transformés sont placés dans le bac. Il est lui-même généralement en acier inoxydable ou en plastique.

Plateau ovale en acier inoxydable
Dans le tuyau du hachoir à viande se trouve une vis, qui est fixée à l'arbre rotatif. Lors de l'assemblage du modèle, vous devez vous assurer que la fixation est aussi fiable que possible, sinon le moteur électrique ne pourra pas contrôler efficacement la vis pendant le fonctionnement. Un manchon en caoutchouc est utilisé pour la connexion, ce qui ne permet pas à l'humidité de la chambre de travail de pénétrer dans la boîte de vitesses. Le tuyau du hachoir à viande lui-même est rendu un peu plus large que la vis afin que la viande ne sorte pas à travers les lames, mais en même temps, l'axe tourne librement, non contrôlé par la force de friction.

Vis sans fin avec bouchon en caoutchouc à l'extrémité
La vis sans fin est l'un des éléments clés d'un hachoir à viande. Il ressemble à une perceuse à lames à spirale haute. La vis sans fin est constituée d'un alliage de divers métaux qui confèrent à la structure une résistance et en même temps une résistance à l'air, à l'eau et à d'autres composés. Pendant le mouvement, il pousse la viande sur les couteaux et la grille, et crée également une pression suffisamment élevée pour broyer et hacher le cartilage.

Différentes formes de couteaux
Le couteau, sur lequel les produits tombent de la tarière, ressemble à une vis à quatre lames tranchantes. Il coupe et moud la viande pour qu'elle passe mieux à travers le gril. Le couteau est fait d'un alliage de métaux, car il doit être durable et résistant à l'humidité. Souvent, les lames ont une forme incurvée spéciale pour de meilleurs produits de coupe. L'ensemble de la conception est conçu pour que les couteaux s'affûtent automatiquement pendant le frottement contre la vis et servent plus longtemps.
Les couteaux doivent être affûtés périodiquement, sinon ils deviennent ternes et arrêtent de couper la viande.

Différentes tailles de grille
Le gril est réalisé sous la forme d'une plaque d'acier épaisse, dans laquelle des trous assez grands ont été pratiqués. Leur taille détermine la consistance de la viande hachée. Le gril peut avoir des trous de différentes tailles:
- 3-3,5 mm - petit;
- 4-5 - moyen;
- 8-9 sont grands.

Pince ou écrou moleté
Le dernier détail est la pince, qui ressemble à un gros écrou moleté. Il fixe le treillis, l'empêchant de sauter pendant le travail. De plus, toutes les autres buses (couteaux, tarières) n'ont souvent pas de fixations fiables, il s'avère donc que la pince fixe non seulement les grilles, mais en général la structure entière. Habituellement, l'écrou moleté est tordu dans le même sens dans lequel la vis sans fin tourne, de sorte qu'il ne s'envole pas en raison de la rotation des éléments internes.
De nombreux modèles sont livrés avec des grilles supplémentaires avec divers trous et des couteaux de différentes formes et épaisseurs, ainsi que des vis pour travailler avec des fruits et légumes.
Comment fonctionne un hachoir à viande?
Pour réduire le risque d'usure, vous devez hacher la viande en petits morceaux et retirer les os et le cartilage. Tout cela devrait être suffisamment petit pour pouvoir être facilement inséré dans le récipient à viande. Poussez la viande à l'intérieur, car le produit tombe sur la vis sans fin.
En raison de sa structure à vis, pendant la rotation, il pousse les pièces sur les lames, ce qui les coupe encore plus petites, puis elles tombent sur le gril. En raison de la pression créée par la vis, la viande est forcée à travers les trous et sort sous la forme d'une masse homogène traitée.
Conditions d'utilisation
Avant de commencer le travail, vous devez vous familiariser avec les règles de fonctionnement:
- Avant la farce, la viande doit être coupée en petites tranches afin qu'elles pénètrent librement dans le récipient à viande.
- Même s'il est écrit qu'un hachoir à viande peut faire face aux petits os et au cartilage, il est toujours préférable de ne pas essayer de les broyer, car l'appareil dans ce cas commence à fonctionner pour l'usure. Ce qui conduit à un échec trop rapide.
- Tous les articles doivent être soigneusement lavés après chaque utilisation. Pour ce faire, la conception doit être démontée; sans cela, tous les éléments internes ne peuvent pas être nettoyés. N'oubliez pas que l'écrou-raccord doit également souvent être nettoyé, et pas seulement la vis sans fin, le couteau et le gril.
- Les couteaux doivent être affûtés en temps opportun. Ce n'est pas parce qu'ils s'aiguisent d'eux-mêmes que cela n'a pas besoin d'être fait. L'auto-affûtage prolonge la durée de fonctionnement du couteau sans affûtage, mais n'élimine pas ce besoin.
- Vous ne pouvez pas mettre votre main dans le récipient à viande et essayer d'en retirer un os ou un gros morceau de viande au moment où l'appareil fonctionne. Vous ne pouvez pas abaisser la viande sur les vis avec vos doigts, un poussoir est spécialement conçu pour cela.
- La viande passe à travers le gril à haute pression, c'est-à-dire qu'elle est poussée à travers les trous avec de nouvelles portions du produit. Par conséquent, après utilisation, il reste toujours quelques grammes de farce sur le couteau et le cylindre. Il doit être retiré après chaque utilisation.
- Avant utilisation, il est recommandé d'essuyer la vis sans fin, le couteau et le gril côté couteau avec de l'huile végétale. Cela réduira la friction, économisera de l'énergie, accélérera le flux de viande et augmentera la productivité.
Lisez aussi: Comment nettoyer le hachoir à viande après le lave-vaisselle?
Assemblage du hachoir à viande
En général, la conception de la pièce de travail est suffisamment simple pour maîtriser le montage et le démontage la première fois. Mais vous devez faire attention à certaines nuances importantes qui sont souvent oubliées. Hachoir à viande démonté montré ci-dessous dans l'image, diverses options de réseau y sont également présentées.

Comment insérer différentes pièces
Démontage du hachoir à viande
Démontez et nettoyez le hachoir à viande après chaque utilisation. Pour obtenir le gril, le couteau à vis et la vis, il suffit généralement de dévisser le clip, car c'est lui qui retient toute la structure, et les éléments internes ne sont souvent plus fixés. L'écrou moleté peut être très serré, vous devez donc faire un effort pour le dévisser.
Après avoir retiré tous les éléments internes et retiré le plateau, lavez soigneusement les pièces. Souvent, toutes les surfaces deviennent grasses, surtout si de l'huile végétale a été utilisée pour faciliter le fonctionnement des appareils. Pour éliminer les graisses, vous pouvez utiliser de l'alcool, car ils détruisent les lipides.
Assemblage du hachoir à viande
Ordre ensemble hachoir à viande Suivant:
- Avant l'assemblage, assurez-vous que toutes les pièces du hachoir à viande sont propres.
- La vis est montée en premier. Avant cela, un bouchon en caoutchouc doit être placé sur sa face arrière, ce qui empêche l'entrée de liquide de la chambre de travail dans l'appareil. Ensuite, vous devez connecter la vis sans fin à la boîte de vitesses.

Connexion de la vis au moyeu de la boîte de vitesses
- Ensuite, le couteau est monté. Il est réglé de telle sorte que la partie plate des lames se trouve sur le côté de la grille. L'exception est le couteau circulaire, il doit être placé avec une surface ondulée plus proche du gril.

Installation correcte du couteau
- Ensuite, le gril est installé.
- Ensuite, le clip est tordu. Mettez-le suffisamment serré pour que la structure entière se verrouille en toute sécurité.
- À la fin, le bac à viande est attaché au corps.
Comment choisir un hachoir à viande?
Malgré la simplicité de l'appareil, il est assez difficile de choisir un hachoir à viande qui est idéal à tous égards, vous devez donc bien comprendre ce problème. Lors de l'achat, vous devez faire attention aux caractéristiques suivantes.
Performance
La productivité est la quantité de viande qu'un hachoir à viande peut produire par unité de temps. Cet indicateur est affecté par la puissance de l'appareil, ainsi que la largeur de la chambre de travail. Il est clair que plus le tuyau du hachoir à viande est large, plus le produit peut y passer. Mais en même temps, la demande de puissance augmente, car en raison de l'augmentation du diamètre de la vis, plus d'énergie est nécessaire pour la faire tourner.
Productivité standard - 1-1,5 kg / min. Mais il existe des hachoirs à viande avec des indicateurs de 0,5 ou 2,5 kg. À la même puissance (par exemple, 1900 W), les performances peuvent varier (par exemple, 1,5 ou 2 kg / min). Des performances supérieures sont fournies précisément par la taille de la chambre de travail ou par la vitesse de rotation de la vis.
Puissance
La vitesse de rotation des vis dépend de cet indicateur, ce qui affecte directement la productivité. En outre, la puissance affecte la charge de puissance que les lames de tarière peuvent créer. Plus ces indicateurs sont élevés, plus la viande traverse rapidement la chambre de travail et plus l'appareil est facile à gérer avec le cartilage et les tendons.
Chaque modèle a une puissance maximale et nominale. Les indicateurs maximaux indiquent quel type de travail le moteur peut effectuer lorsqu'il travaille pour l'usure, lorsque du cartilage ou des os pénètrent dans la tarière. Ce critère n'affecte pas la productivité, mais indique la possibilité d'un hachoir à viande. Une cote caractérise le fonctionnement de l'instrument dans des conditions standard.
La puissance maximale de la plupart des appareils varie dans la plage de 1000 à 2000 W, mais il existe des hachoirs à viande dans lesquels ce chiffre est de 400 ou 3000. Si vous n'allez pas broyer le cartilage et les os, alors 1000 suffira pour le travail. En même temps, n'oubliez pas que plus le hachoir à viande est puissant. , plus il crée de bruit pendant le fonctionnement.
Matériel
L'appareil peut utiliser du plastique, de l'aluminium, de l'acier inoxydable et d'autres alliages. Les hachoirs à métaux sont plus lourds, mais plus solides et durent plus longtemps. Tous les organes de travail internes du hachoir à viande doivent être en acier, le boîtier peut également être en plastique. Parfois, il existe des hachoirs à viande avec des vis en plastique. Ces appareils conviennent pour couper des baies ou des fruits, mais pendant le traitement de la viande, ces pièces se cassent souvent.
Les couteaux sont toujours en métal. Les aciers inoxydables ferritiques sont les plus préférés, qui sont très résistants à la corrosion et aux composés agressifs. Les alliages martensitiques ayant une résistance à la corrosion et une résistance mécanique conviennent également. N'oubliez pas que les couteaux doivent être affûtés périodiquement, ils doivent donc être en acier inoxydable.
Boîte de vitesses
Souvent, les engrenages de la boîte de vitesses sont en plastique, car ils sont moins chers et l'appareil remplit la période de garantie. De plus, le hachoir à viande de celui-ci devient plus facile. Mais en même temps, il y a des cas où les engrenages de la boîte de vitesses se cassent en raison d'une charge accrue. Si possible, vous devez choisir des appareils à engrenages métalliques ou en plastique à haute résistance.
Vous devez également faire attention à l'accouplement du manchon, auquel la vis sans fin du hachoir à viande est connectée. Grâce à cet élément, le composant liquide du produit transformé pénètre souvent dans l'appareil chinois. Vous devez démonter correctement l'appareil et évaluer l'étanchéité de l'intérieur, mais cela ne peut se faire qu'à la maison.
Inverser
Le bouton d'inversion fait tourner la vis sans fin dans la direction opposée. Cette fonction vous permet de retirer les noyaux et les os, ce qui, pendant le fonctionnement, a entraîné l'arrêt de l'appareil. Lors de l'inversion de la masse traitée, la vis pousse dans le sens opposé. En l'absence d'une telle opportunité, vous devrez démonter l'appareil à chaque blocage, arrêtant le broyage de la viande lors du montage et du démontage.
Nombre de vitesses
La plupart des femmes au foyer ont deux vitesses. Le premier est nécessaire pour hacher la viande et d'autres produits visqueux ou durables. Le second est utilisé pour presser le jus des légumes et des fruits. Parfois, les fabricants font 3 vitesses, mais n'oubliez pas que la vitesse maximale n'est pas toujours requise. De plus, plus la vis tourne vite, plus le hachoir à viande fait de bruit.
Uptime
Le temps pendant lequel le hachoir à viande peut fonctionner sans interruption dépend de la taille des tours de la vis. Le moteur doit être arrêté pour qu'il refroidisse et ne surchauffe pas. Assurez-vous que l'appareil, même à la vitesse la plus élevée, peut fonctionner pendant 10 à 15 minutes sans qu'il soit nécessaire de l'éteindre. En règle générale, le temps de fonctionnement continu dépend de la présence de ventilateurs dans la structure ou du volume du boîtier.
Protection moteur
Diverses options de protection du moteur contre la surchauffe sont utilisées. Sur certains, un fusible thermique électrique est installé, ce qui rompt le circuit électrique lors d'une surchauffe. Sur d'autres appareils, un manchon de fusible est monté, ce qui bloque mécaniquement la vis. Chacun de ces éléments protège également contre la surchauffe. Lors du choix d'un hachoir à viande, vous devez faire attention à la stabilité du fusible aux chocs et aux vibrations.
Modèles populaires
Vous pouvez trouver un bon hachoir à viande au meilleur prix. Un aperçu de plusieurs modèles populaires est donné ci-dessous.Le tableau compare le coût et les principales caractéristiques.
| Titre | Puissance nominal | Puissance maximum | protection contre la surchauffe | Performance | Prix |
| Zelmer 687.5 | 500 | 1300 | + | 1,5 kg | 3800 |
| Bosch MFW 66020 | 600 watts | 1500 | – | 3 kg | 6200 |
| Panasonic MK G1800PWTQ | 300 watts | 1800 | + | 1,6 kg | 15000 |
| Axion M 31.02 | 230 | 1500 | – | 1,7 kg | 3400 |
Le tableau montre que bien que la productivité et la puissance affectent le prix, il n'y a pas de dépendance proportionnelle directe.



Des informations intéressantes, et j'ai un hachoir à viande Dauken FW3040, pratique et fonctionnel. Je suis satisfait.